在現代社會,污水處理設備扮演著環保守護者的角色,為我們的生產和生活環境創造清新空氣和清澈水域。在眾多污水處理設備品牌中,選擇一家專業、可靠的生產廠家顯得尤為關鍵。本文將深入探討污水處理設備生產廠家樂中環保在污水處理設備的技術創新、工藝流程以及獨特品牌優勢。
<延伸閱讀:污水處理設備>
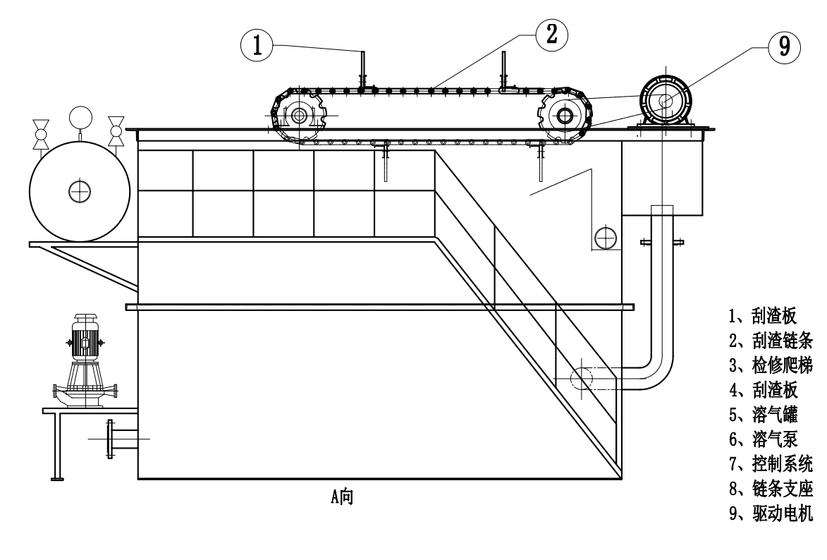
<延伸閱讀:溶氣氣浮機>
設備構造:技術精湛的工藝打造卓越品質
污水處理設備的構造直接關系到其處理效果和使用壽命。樂中環保憑借多年積累的技術研發實力,采用先進的生物處理設備,通過精心設計的物理處理、化學處理和生物處理工藝,致力于高效降解有機物質,消除有害物質和臭味。其生物處理設備以微生物活動為核心,確保處理過程穩定、成本低廉、操作簡便,為客戶提供卓越的使用體驗。
工藝流程:科技引領環保新時代
1.物理處理:樂中環保采用先進的物理處理技術,通過過濾、沉淀等工藝,有效去除污水中的固體顆粒和雜質,為后續處理創造清潔的基礎。
2.化學處理:在化學處理階段,樂中環保充分利用高效的化學藥劑,對污水中的有機物質進行降解和氧化,確保廢水處理達到環保標準,不對生態環境造成二次污染。
3.生物處理:生物處理是樂中環保的特色之一。通過引入優質微生物,加速有機物質的降解過程,徹底清除有害物質,保障處理效果的穩定性和可持續性。
顧客滿意污水處理設備生產廠家樂中環保的追求。在購買過程中,公司提供專業的售前服務,為客戶詳細解讀設備性能和特點,協助客戶選擇最適合的設備。而強大的售后服務團隊則為設備的正常運行保駕護航,及時解決潛在問題,最大程度減少設備故障可能帶來的損失。
<延伸閱讀:食品污水處理案例>
<延伸閱讀:市政污水處理案例>
<延伸閱讀:養殖污水處理案例>

